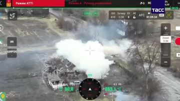
Кадры уничтожение украинской РЛС СТ-68 с помощью дронами-камикадзе «Герань-2» в районе н.п. Ивано-Михайловка Днепропетровской области.
Кадры уничтожение украинской РЛС СТ-68 с помощью дронами-камикадзе «Герань-2» в районе н.п. Ивано-Михайловка Днепропетровской области
Подписывайтесь на наш паблик в Одноклассниках
Это интересно
Топ
Вчера днём и ночью ВКС и ракетные войска наносили удары по целям на Донбассе, в Сумской, Харьковской, Запорожской, Днепропетровской и Херсонской областях (весь спектр средств поражения), в Чёрном море (Х-22/Х-32), Одессе и Одесской...
С потеплением русские развернут масштабную кампанию с точечными ударами по гарнизонам ВСУ в таких городах, как Краматорск и Славянск.Об этом в эфире канала «Politeka» заявил инструктор одного из полигонов ВСУ, ограниченно пригодный после ранения...
По сообщениям мониторинговых и местных Telegramканалов, применялся широкий спектр средств поражения: корректируемые авиабомбы с УМПК, реактивные системы залпового огня/оперативнотактические комплексы, ударные БПЛА типа «Герань»/«Гербера» и «БМ35»...
Сначала противник опубликовал видео прорыва небольшой колонны ВСУ в село Новогригоровка, расположенное на границе Днепропетровской и Запорожской областей.В последующем появилось видео уже от @voin_dv, где часть приехавшей украинской техники была...
Инцидент произошёл около двух недель назад, но был опубликован только сегодня, когда ВСУшные пропагандисты выложили свой вариант видео без завершения под заявление Сырского об успехах в Днепропетровской области, сообщает Telegram-канал "Воин...
Опутанные антидроновыми сетками логистические коридоры на стыке ДНР и Днепропетровской области могут быть использованы русскими для бросков бронетанковых колонн.Об этом в эфире канала «Politeka» заявил инструктор одного из полигонов ВСУ, ограниченно...
Армия РФ продвинулась в районе Поддубного на границе Донецкой и Днепропетровской областей, сообщают вражеские сводки.Работайте, братья!
Штурмом взят важный опорный пункт и занят плацдарм для дальнейшего наступления.В ДНР на Красноармейском направлении артиллеристы уничтожили склад боеприпасов.
Глава МИД Ирана заявил, что переговоров с США не будет.БПЛА сожгли место скопления дроноводов ВСУ в Днепропетровской области.Власти Одинцовского округа призвали жителей не искать самим троих пропавших в Звенигороде детей.Управление БПЛА станет новым...
ВС РФ увеличили зону контроля в окрестностях Новопавловки и заняли новые позиции на ближних подступах к населённому пункту. Днепропетровская область.
Сводка СВО, утро 10 мартаНочью «Герани» атаковали «военку» Днепропетровска. Местные власти заявляют о поражении ряда «важных объектов».После освобождения Красноармейска (Покровска) началась битва за Доброполье, которое российские...
Как наши бойцы зачистили важный опорник ВСУ в Днепропетровской области смотрите здесь.
Кадры поражения ббм, пикапов, НРТК и пехоты противника.БС в TG | БС в МАХ
На Сумском направлении ударами поражены завод Центролит и подстанция Сумы северная 330кВ.В Ахтырке накрыты ангары с техникой. В Шостке удары нанесены по дислокации ВСУ на территории НИИ химпродукт, где расположены казармы с живой силой;В...
Работа расчетов БПЛА батальона им. Максима Кривоноса на Днепропетровском и Запорожском направлениях.Кадры поражения НРТК в районах н.п. Гавриловка и Доброполье, а также автомобиля ВСУ в районе н.п. Федоровское.БС в TG | БС в МАХ
География ударов и предварительные итоги 10 марта 2026Сумская область — 7Сумы — 3, Ахтырка и район — 2, Шостка — 2В Сумах удары в основном по северо-восточной окраине города, в направлении завода «Центролит» и подстанции «Сумы северная» 330кВ. После...
Подразделениями группировки Север в Сумской области нанесено поражение механизированной и десантно-штурмовой бригадам ВСУ в районах Мирополье, Максимовщина, Новая Сечь и Ястребиное Сумской области.В Харьковской области нанесено поражение...
Разговор Путина и Трампа - о принуждении Киева к переговорамЗабавно, как киевские генералы пытаются перехватить информационную повестку. Генштаб Украины вдруг разразился заявлением об освобождении почти всей территории Днепропетровской...


















































